品质创造未来,细节赢得依赖,洞察行业趋势,探索发展新机遇
AZSH手持数显张力计使用说明书
一、概述
1.1 主要用途及适用范围
手持数显张力计是一种手提式电子数字测量仪器,可以测量丝状、线状材料的张力,广泛应用于电线电缆、纺织化纤、金属线、碳纤维等行业。能精确地测量张力及系统地处理数据。
1.2 产品特点
1.2.1 实时、保持、峰值三种工作模式任意切换。
1.2.2 cN、gf、OZ、Kgf、N、lb六种单位可设定。
1.2.3 精度为满量程的2.5%。
1.2.4 可精确测量10种不同材料的张力。
1.2.5 带USB通讯功能。
1.2.6 具有厚度调整功能。
1.2.7 存储方便,可存储41组数据。
二、产品型号规格
|
型号 |
AZSH-200 |
AZSH-500 |
AZSH-1000 |
AZSH-2000 |
AZSH-2500 |
AZSH-5000 |
AZSH-10K |
|
张力范围 |
4~200.0(cN) |
10~500.0(cN) |
20~1000(cN) |
40~2000(cN) |
50~2500(cN) |
100~5000(cN) |
2.00~10.00daN |
|
*测量头宽度(mm) |
65 |
65 |
65 |
65 |
116 |
116 |
116 |
|
**标定材料 纺织品 PA单丝 |
φ0.12mm |
φ0.12~0.20mm |
φ0.20~0.40mm |
φ0.40~0.70mm |
φ0.40~0.70mm |
φ0.60~1.20mm |
φ0.80~1.40mm |
|
尺寸(mm) |
270*118*55 |
||||||
|
净重(g) |
约640g |
||||||
|
电源 |
3.7V锂电池*2 |
||||||
说明:
*:根据型号不同,导线架的宽度和两个导向轮外侧间的距离也有所不同。
**:本公司标定材料适用于95%的张力测量。PA=聚酰胺单丝,如果被测材质的直径、硬度、形状等与本公司的标定材料有较大差别时,建议客户提供5米长的被测材料进行标定。
国际张力单位:
1CN=1.02g=0.01N;
1daN=1.02kg=10N。
三、产品整体结构
3.1 外型结构


3.2 按键说明

3.2.1 “MD”键:操作模式选择/设置界面选项/退出。在测量界面下,按此键可切换实时模式(屏幕无字符显示)、HOLD(保持模式)、PEAK(峰值模式);在实时模式下,长按“MD”键3秒,可进入设置项界面;在任意界面按“MD”键均可退出返回到测量界面。
3.2.2 “MEM”键:保存数据/查看保存数据。在“PEAK”模式下,短按“MEM”键可保存力值,如果持续短按“MEM”键会一直保存当下的力值;在实时模式下,短按“MEM”键可进入到查看数据界面;在“HOLD”模式下,第一次短按“MEM”键开始保存数据,第二次短按“MEM”键表示数据已保存成功;在设置项界面,按“MEM”键可查看下一个设置项。
3.2.3 “P/C”键:开关机/置零键/删除键。长按“P/C” 键3秒可开/关机;在实时和峰值模式下短按“P/C” 键力值清零;在查看数据界面,短按“P/C”键可删除当前力值。
四、菜单功能简介
4.1 系统功能设置

4.2 单位选择

4.3 测试周期
单位为秒,针对“HOLD”模式。例如选择“1.4”秒,在“HOLD”模式下施加力时,仪器显示屏每过1.4秒会闪现一组数据并自动保存,且每一组数据里面都含有最大值、最小值、平均值。

4.4 线径补偿(增量设置)
单位为“%”,例如满量程是50N,测试出来结果为48N,那么精度为4%,此时可以选一个合适的补偿,例如0.045(4.5%)来减少误差。

4.5 清空数据
删除仪器内存储的所有数据。 “YES”为全部删除,显示“YES”时按“”键选择确认删除数据。按“MD”直接退出不删除数据。如下图所示:

4.6 自动关机时间
可设置0-15分钟仪器无操作自动关机,“0”为不自动关机,按“ ”键选择自动关机时间即可。

4.7 恢复出厂设置
恢复出厂设置,按“”键选择恢复出厂设置,显示“YES”时按“ ”键确认恢复出厂设置。如下图所示:

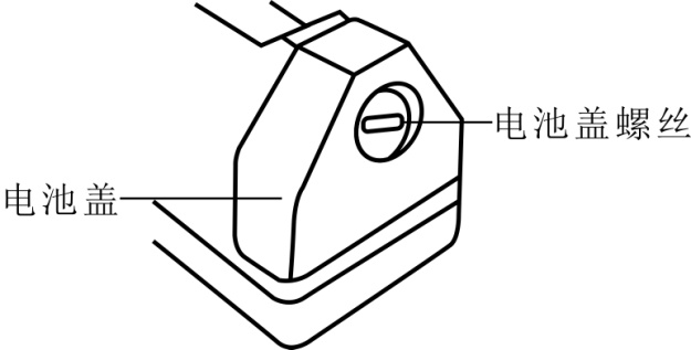
五、电池安装、更换
5.1 当液晶屏右上角出现“B”时,表示电池电量低,请立即充电,或更换电池.
操作方法:用一字螺丝刀按逆时针方向旋开位于仪器尾部的电池盖。如下图所示:

5.2 把2节5号3.7V的锂电池放入电池套筒,按电池盖内部电池正负极指示插入电池。
如下图所示:

5.3 把电池盖按顺时针方向拧紧即可。
六、厚度调整器
6.1当我们使用“3滚筒”原理张力测量法时,即使线形张力不变,材料直径的增加也会导致张力读数的增加。本仪器的专用厚度调整器系统可自动转换为外部滚筒来补偿这种影响。厚度调整器测量直径可精确到0.01mm,可作为电脑校准公式的因素。
厚度调整器位于仪器的背面,向前推拇指滑块,两块金属块将分离形成一个可插入材料的缝。
6.2 当使用单纤丝、金属丝和其他不易弯的材料的时候,在插入厚度调整器前必须要将样品充分的准备好,使用钳子按照下图所示弯折样品。把单纤丝按照下图所示保持在“A”弧,然后样品弯曲进入厚度调整器。

6.3 将拇指推滑块向前移动,将样品放入缝中,再慢慢将拇指滑块复位。样品应在两个金属块之间被固定,把样品的终端放在夹线器的下面即可。
七、操作步骤
7.1 按“P/C”键来打开仪器,选择合适的测试模式与单位。
7.2 将拇指滑块往前推,直到外部的两个导向轮伸展开并超出导线架。
7.3 将样品放入测量轮中并慢慢松开拇指滑块直到它退回到原来的位置,液晶屏将开始显示测试数据。(注:不可以让拇指滑块迅速退回,否则会影响精度并损坏仪器。)如下图所示:

八、数据输出
通过USB接口可将存储数据传输到电脑,配合制造商生产的软件可实现数据处理。
软件界面如下:

使用制造商提供的光盘,在电脑上安装好通讯软件,然后在手持数显张力计开机状态下用数据线连接手持数显张力计和电脑,双击软件图标,打开软件,先选择“Com No(端口号)”,再点击“Port Open”,然后点击“Upload”,这时表格上会出现本仪器内的存储数据,表示上位机已连接成功,已达到读取存储数据的目的。
九、维修和保养
9.1 应定期检查测量轮和导向轮以确保它们轻巧、平滑的运转。
9.2 在常规的使用时间与负载下,我们建议检定周期为一年。
9.3 在使用中不要当榔头使用,尽量避免磕碰和跌落。
9.4 严禁过载使用,以免损坏仪器的传感器。
9.5 严禁随意拆卸仪器,遇到问题,请与我公司及时联系。
9.6 在清洗的时候,不要使用任何腐蚀性溶液。
9.7 长期不使用本仪器时,请取出电池。
十、包装清单
|
1 |
手持数显张力计 |
1只 |
|
2 |
说明书 |
1份 |
|
3 |
合格证 |
1份 |
|
4 |
检查证明书 |
1份 |
|
5 |
干燥剂 |
1包 |
|
6 |
USB数据线 |
1根 |
|
7 |
12V充电器 |
1个 |