品质创造未来,细节赢得依赖,洞察行业趋势,探索发展新机遇
SF简易型推拉力计
使用说明书
一、 用途
SF系列数显式推拉力计是我公司研制的新一代数显式推拉力计。体积是原有的1/2,便于用户随身携带,是一款操作简便的推力、拉力测试仪器。广泛适用于各种产品的推拉力负荷测试,插拔力测试、破坏试验等,可结合各种机台和夹具组成不同用途的小型实验机。
二、功能特点
1、数字显示,方便读取,精度高。
2、重量轻,体积小,方便携带。
3、 单位显示:N、Kg与Lb互相切换。
4、 电池有短路、漏电、过载保护,电池有低电量提示,采用3.7V锂电池供电,同时十分钟无操作将自动关机。
5、 具有两种测量模式:实时、峰值自由切换。
三、外形结构

四、规格参数

五、屏幕显示

①、峰值模式:开机后,进入测量界面,按“SET”键,即可进入“峰值模式”,记录一个时段内测量到的最大力值。
②、推拉力表示:推拉力计不动,上方箭头显示为拉力,下方箭头显示为推力。
③、测量力值显示。
④、三种单位显示: N(牛)、kg(公斤)、lb(磅)三种单位分别显示,按“UNIT”键转换而成。
⑤、电量显示。
六、按键介绍
OFF/ON(“开机/关机”键): 按此键时,电源打开,出现测量界面。关机时,再按此键即可关机。
ZERO(“置零”键):按此键时,屏幕上的测试值会被归零。
SET(“模式切换”键):按此键时,进入峰值测量模式。按“SET”键可进入设置项界面。
UNIT(“单位切换”键):按此键时,可以切换三个不同单位。
七、开机显示

八、功能介绍
a、设置项:
开机后按“SET”键4至5秒,再放开,即进入设置界面,显示“HIDT”,再连续按“UNIT”,会依次出现其他的设置项:“LODT”、“L.SET”、“OFFT”、“G.SET”、“BAC.S”、“R.SET”,如下图所示:

(HIDT)测试值上限设定:设定测试值上限,上限值默认状态满量程的99%。高于上限为超出范围,仪器会鸣叫。若想重新设定上限值,可用“UNIT”键和“ZERO”键设定。按“SET”键保存后自动回到设定项目界面。如下图所示:

(LODT)测试值下限设定:设定测试值下限,下限值默认为0。低于下限为超出范围,仪器会鸣叫。若想重新设定下限值,与上步操作大同小异,用“UNIT”键和“ZERO”键设定。按“SET”键保存后自动回到设定项目界面。
(L.SET)峰值最小保存值:最小峰值保存值,峰值模式下,当前值小于该值时,峰值将不被保存。
(OFFT)自动关机时间设定:在此设置项目下,用“UNIT”键和“ZERO”键设定,可设定1分钟到9999分钟自动关机,也可设定“00”不自动关机。如选不自动关机,选定后按“SET”键完成设定。即返回到选项界面。仪器默认设置为10分钟。
(G.SET) 重力加速度设定:用户可根据本地区的位置设定重力加速度值,默认值为9.800。
(bAC.S)背光功能设定:在此设置项目下,用“UNIT ”键选择,若选择“
(YES)”表示开启背光功能,选择“
(NO)”表示关闭背光,选定后按“SET”键保存并返回到设置项目界面。
(REF)传感器参考值:厂家参考值,用户无需关注。
(dIr) 正负推拉方向:用于切换推拉力计正负方向。
(SHIE)取消屏蔽:屏蔽取消可显示满量程1%以下的数据。按“YES”为不取消,按“NO”为取消。
(R.SET)恢复出厂设置功能:在此设置项目下,按“SET”键即可恢复出厂设置,机器关机。若使用机器重新开机即可。
九、测试
按“开机”键 打开电源,根据需要使用出厂默认设置直接进行测试或选择测试模式后进行测试。
1、选择合适的测试用接头夹具安装到推拉力计上(自制夹具请参考“外形及安装尺寸图”中相关数据。
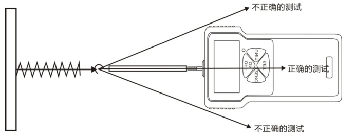
2、请牢固的握住推拉力计或将推拉力计安装于合适的测试机台上进行测试,试时请使被测试力和推拉力计的推拉杆成一直线,以便测得准确的荷重值。
3、测试完成后,卸下负荷,关闭电源,取下夹具,将各物件清洁后放回工具盒内,以备下次使用。

十、安全注意事项
1、 注意事项:
a、 购此仪器,若仪器电量不足需先充电4~6个小时,方可进行正常使用。
b、 如果操作错误,可能会损坏本仪器或导致严重的事故。本说明书中指出了预防事故发生的重要事项和仪器的使用方法,请在使用前仔细阅读此说明书,阅读后妥善保存,以备在此阅读。
c、 如果是测试冲击负荷请选用最大负荷比所要测试的冲击负荷大一倍的机型。
2、 警告事项:
a、在破坏性测试时,应戴上保护面具和手套以防测试过程中发生的飞溅物质伤及人体。
b、不要使用已损坏或严重弯曲变形的夹具。自制夹具请参阅本说明书中相关的参数(本公司另备有各类夹具,客户可根据需要;另行选购)。
C、不要超出最大量程来使用本仪器。否则可能导致传感器损坏,甚至发生事故。
d、当测试值超过满量程的100%时,蜂鸣器会连续鸣叫,此时请快速解除所加之负荷,或降低负荷,当测试值超过满量程的120%时,仪器可能会损坏。
3、解决死机状态:当仪器意外死机时,用硬物小圆杆按仪器的右侧有个标示为“复位”键快速复位关机即可。
4、安全事项:
a、请使用配套的充电器充电,否则会引起电路故障,甚至引发火灾。
b、不要使用充电器额定电压以外的电源,否则可能会引起电击或火灾。
c、不要用湿手拔出或插入电源,否则可能导致触电。
d、不要拉拽充电器的电源线来拔出插头,以免电线被扯断而遭电击。
e、请用柔软的布来清洁本机。将布浸入泡有清洁剂的水中,拧干后再清除灰尘和污垢。注意:不要使用易挥发的化学物质来清洁本机(如挥发剂、稀释剂、酒精等)。
f、请勿在以下环境中操作本机
①潮湿的环境 ②多尘的环境 ③使用油或化学品的地方 ④周围有震源的地方
g、请在规定的温湿度范围内使用及储存,否则可能造成仪器故障。
h、不要自行拆卸修理或改造本机,这些行为可能引起仪器永久性故障。
i、其他安全生产需注意的未尽事项。
J、推拉力计送修前之确认项目

十一、外型及安装尺寸图

十二、随机附件明细表
