品质创造未来,细节赢得依赖,洞察行业趋势,探索发展新机遇

一、 简介:
ADL端子拉力测试仪是我公司针对线束及电子行业研制开发的一种检测设备,专用于检测各种线束接线端子的拉脱力。可配置NK、HF推拉力计和专用夹具,本仪器具有设备小巧、控制准确、测量精度高、试件装夹方便、操作简单等特点,是线束生产厂家确保产品质量的理想设备。
二、 仪器介绍:
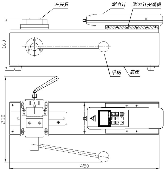
1、 仪器的机座(如下图所示):

卧式安装。
· 手动操作,操作简单稳定。
· 可将本机台安装于桌(台)上使用,使机架更加稳固。
· 长×宽×高:450mm×260mm×160mm。
· 有效行程:50mm。
· 额定负荷:500N。(也可配置1000N)
· 净重:10.6Kg。
1、 仪器的推拉力计:
一般标准配置为数显式推拉力计HF—500。(也可配置指针式推拉力计NK—500,价格不同)
⑴ 数显式推拉力计
A、 型号:HF—500。
B、 最大负荷:500N(Kg、N和ib三种单位可自动转换)。
C、 分辨率:0.01N。
D、 精度:±0.5%。
E、 输出接口:RS 232 九孔插座。
F、 电源:充电电源:220V/AC;电池连续工作时间:6~8小时。
G、 稳定性:温漂:0.2uV/℃(0~60℃);零漂:≤ 0.1%/8小时/FS。
H、 标定范围:满量程标定。
I、 环境温度:0~+60℃。
J、 环境湿度:≤ 80%。
K、 允许过载:150%。
L、 供电方式:5 号镍氰电池组 /220V AC 充电 4~6 小时。
⑵ 指针式推拉力计
M、 型号:NK—500。
N、 最大负荷:500N(50Kg)。
O、 推拉杆行程:10mm。
P、 工作温度:20℃±10℃。
Q、 运输温度:-27℃~+70℃。
R、 相对湿度:15%~80%RH。
S、 工作环境:周围无震源及腐蚀性介质。
客户可根据需要,配置相对应规格的测力计:
指针式推拉力计规格有NK—10、20、30、50、100、200、300、500。
数显式推拉力计规格有HF—2、5、10、20、50、100、200、500、1000等。
2、 仪器的左夹具:
· 外形尺寸:115mm×180mm×30mm。
· 适用范围:主要应用于插拔力测试、线束接线端子等拉力测试。
· 标准负荷:500N,最大负荷:1000N。
3、 仪器的右夹具:
· 型号:AJJ-06。
· 适用范围:各种线缆、玻璃、皮革、各种电器元件等材料的拉力、破坏力、插拨力、线束接线端子等拉力测试。
· 标准负荷:500N,最大负荷:1000N
三、仪器的安装方法:
1、机座的安装方法:
本仪器可安装在桌子上,使仪器更加稳固。安装时请保证工作台面水平,使测试得到准确的数值。安装时请参照(长×宽:430mm×80mm,4个M4的螺纹孔)安装。
2、推拉力计的安装方法:
A、用M4扳手将测力计安装板上4个M 4×16的内六角圆柱头螺钉松开,卸下测力计安装板;
B、安装HF系列(数显式推拉力计)的推拉力计时,用M4内六角扳手将附件袋里的4枚M4×10的内六角螺钉穿过测力计安装板上90×40 的孔旋入测力计4个M4的螺纹孔内,将测力计安装到测力计安装板上;或用十字螺丝刀将附件 袋里的4枚M3×10的十字槽盘头螺钉穿过测力计内,将测力计安装到测力计安装板上。 安装板上145×30的孔旋入测力计4个M3的螺纹孔;
C、 安装NK系列(指针式推拉力计)的推拉力计时,用十字螺丝刀把推拉力计后盖上的4枚 M×10的螺钉卸下,将附件袋里的4枚M3×14的十字槽螺钉穿过测力计安装板上的145×30的安装孔, 旋入测力计后盖上的4个M3螺纹 孔(卸下M3×10的螺钉的螺纹孔);
D、 安装好推拉力计表后,用M4内六角扳手将测力计安装板重新安装到机架上面。
3、左夹具的安装方法:
用M4内六角扳手将附件袋里的4枚M4×10的内六角螺钉穿过左夹具安装板上4个调节孔旋入机台底座板上4个M4的螺纹孔内,将左夹具安装到机台底座板上。
4、右夹具的安装方法:
先用附件中的M6螺母旋到测力计的测力杆上,再将右夹具旋到测力计的测力杆上,调节M6螺母使其右夹具接连牢固即可。
四、一般测试操作过程:
1、将各种线束接线端子一端电线部分放入左夹具的夹口中,旋转手柄以夹稳电线部分(线束接线端子已被压住)。
2、将线束接线端子另一端放入右夹具的夹口中,旋转把手以保持线束接线端子一端卡在中间。
3、用M4内六角扳手,将左夹具中心对准右夹具的中心。
4、若用HF系列(数显式推拉力计)的推拉力计时,打开电源,待液晶显示屏显示为零后即可。
5、若安装NK系列(指针式推拉力计)的推拉力计时,按一下切换按钮,使指回到零位即可。
6、旋动机身的手柄,使其左夹具向左运动,并能够右夹具卡住端子。
五、日常保养与维护:
1、请勿超载使用,本仪器额定负荷为500N。
2、注意日常的保养工作,保持仪器各部件清洁。
3、机台出现故障时请及时联系厂家或销售点(请勿擅自拆卸、修理)。