品质创造未来,细节赢得依赖,洞察行业趋势,探索发展新机遇
高速冲击扭矩测试仪
一、功能
高速冲击扭矩测试仪是为测试和检测各种扭矩而设计制造的一种智能化多功能计量仪器。主要用于检测和校正各种电动风动螺丝批、扭矩扳手的扭矩,各种产品涉及拧紧力的测试,零件扭转破坏性试验等。具有操作简单,精度高、功能全、携带方便等特点,广泛应用于各种电气、轻工、机械制造、科研机构等行业。
二、主要特点
1、高精度、高分辨率、采样速度快、全屏显示。
2、采用高精度扭矩传感器,具有扭矩方向显示。
3、上下限值的设定,红绿指示灯及峰鸣器声光报警。
4、三种单位互相转换,可供选择(N·m、kg·cm、Ib·in)。
5、实时、峰值、自动峰值三种模式可随意切换。
6、采用USB接口与PC通讯,同步测试功能可连接电脑测试,电脑上同步显示测试力曲线图及测试过程中详细的测试力的记录,并可保存、打印,做各种分析。
7、峰值保持、自动解除功能、解除时间自由设定。
8、存储量大、可保存99组测试数据。
9、无操作自动关机功能,时间可自由设定。
%1、 规格参数
|
机型 指标 |
带打印机类 |
AGN -50P |
AGN -100P |
AGN -200P |
AGN -300P |
AGN -500P |
|
不带打印机类 |
AGN -50 |
AGN -100 |
AGN -200 |
AGN -300 |
AGN -500 |
|
|
测量 范围 / 分 度值 |
N·m |
50.000 /0.001 |
100.00 /0.01 |
200.00 /0.01 |
300.00 /0.01 |
500.00 /0.01 |
|
Kg·cm |
510.52 /0.01 |
1021.0 /0.1 |
2042.0 /0.1 |
3063.1 /0.1 |
5105.2 /0.1 |
|
|
Ib·in |
443.11 /0.01 |
886.2 /0.1 |
1772.4 /0.1 |
2658.6 /0.1 |
4431.1 /0.1 |
|
|
精度 |
±1% |
|||||
|
峰值采样频率 |
2000HZ |
|||||
|
测试转速 |
≤7000rpm |
|||||
|
电源 |
8.4V 1.2VX7 镍氰电池组 |
|||||
|
充电时间 |
4~6小时 |
|||||
|
电池连续使用时间 |
约10小时 |
|||||
|
电池寿命 |
≥300次 |
|||||
|
尺寸 |
带打印机类:230mm×95mm×180mm 不带打印机类:230mm×70mm×125mm |
|||||
|
净重量 |
带打印机类:36KG 不带打印机类:34KG |
|||||
|
电源适配器 |
输入:AC 220V 50HZ 输出:DC 10V 300mA |
|||||
%1、 各部件的名称与功能

无打印机类

带打印机类
1、液晶显示窗 2、指示灯
3、功能按键 4、电源插座
5、通讯接口 6、扭矩传感器
7、打印机
1、 液晶显示窗
a、开机显示
开机显示厂家信息欢迎您的使用以及显示产品型号
b、用户主界面显示
1 测量模式:分为实时、峰值、自动峰值三种模式,用户可根据需要自由选择。
2 测量扭转方向:“顺”是指顺时针方向,“逆”是指逆时针方向。
3 测量力值。
4 测量单位:N·m、kg·cm、Ib·in三种单位根据需要自由选择。
5 电池电量指示:当电池电量低度时,显示“
”或插上配套电池上限红色指示灯快闪之后呈红色灯恒亮,则需要充电。
2、 指示灯
1 充电:当使用配套电源适配器充电时,即为红灯亮。
2 饱和:当使用配套电源适配器充电充满后,即为绿灯亮。
3 通讯:当使用配有带打印机功能的仪器。
4 报警:上下限报警,当测量力值高于上限值,些灯亮起呈红色及峰鸣器报警;当测量力值低于下限值,些灯亮起呈绿色及峰鸣器报警。
3、 功能按键

a、 “ON/OFF”键:电源开关,开机和关机。
b、“打印”键:用于配有带打印机的仪器上,按下此键,打印出仪器内部保存的测量数据(无打印功能的除外)。
c、“设置”键:用户在测量模式时可以通过此键进入设置菜单。
d、“查看”键:在测量模式时通过此键可以查看存储的测量数据,再按1次则返回测量模式。
e、“▲”键:在用户设置界面,按此键可上下修改设置项,在参数设置时,按此键可以在当前位进行数据修改;在查看界面,按此键可以查看上一个数据。
f、“▼”键:在用户设置界面,按此键可以向下修改设置项,在参数设置时,按此键可以按位移动,来选择要修改的位数;在查看界面,按此键可以查看下一个数据。
g、“峰值”键:用来切换实时、峰值、自动峰值三种测量模式
h、“保存”键:用来保存测量的数据。
i、“单位”键:用来切换N·m、kg·cm、Ib·in三种单位。
j、“置零”键:
①、在实时测量时,按此键可以修正零点;
②、在峰值和自动峰值时,按此键可以清除峰值,恢复到零点;
③、在查看界面时,按此键三次可以删除所有记录;
④、在用户设置界面,按此键不保存数据退回上一级界面。
4、 电源插座:用于与外接电源连接或充电。
5、 通讯接口:USB接口输出,用于连接电脑。
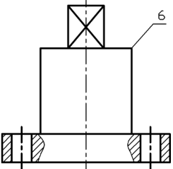
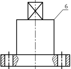
6、 扭矩传感器
7、 打印机:打印出仪器内部保存的测量数据。
五、工作环境
1、操作温度:-10℃~40℃。
2、操作湿度:≤90%RH。
3、周围无震动源和无腐蚀性环境。
六、操作步骤
1、在使用高速冲击扭矩测试仪之前,先检查仪器电量是否充足,若电量不足,请先充电(充电时也可使用)。
2、将传感器用M6螺钉固定在试验工作台上,安装时要确保在最大扭矩时工作台不被移动。

3、正常情况下,打开电源开关,显示的扭矩值为零,如果不为零按清零键,将扭矩值清零。
4、测试前,第一需设置好上下限值、最小存储值、最小峰值保持值、自动峰值时间、自动关机时间、重力加速度等,具体操作步骤如下:
a、在用户主界面第1次按下“设置”键进入用户设置界面,显示屏显示如下:
通过向上键或者向下键进行设置项的选择,选择到选择到用户的设置项时,通过按设置键进入参数设置界面。
b、参数设置界面
在用户设置界面,按“设置”键进入参数设置界面显示如下:
设置参数说明:(以上限值设定为例)
通过“▲”键和“▼”键进行数据修改和移位,此时按“保存”键保存设置数据,显示屏界面返回用户设置界面,可进行下一设置项的设置。(如按“置零”键则返回到进入用户设置界面,不保存修改数据),当所有设置项都设置好并保存后,直接按“ON/OFF”键关机,再按“ON/OFF”键开机,进入用户主界面。设置的数据不能超过最大负荷值。
①、上限值设定:用户设定上限值,根据需要自由设定,达到上限值即自动声光报警,上限值不高于满量程。
②、下限值设定:用户设定下限值,根据需要自由设定,达到下限值即自动灯光报警,下限值不得高于设定的上限值。
③、最小存储值设定:用户根据存储需要设定最小存储值,小于该值的数据将不被储存。
④、最小峰值保持值设定:用户根据峰值,自动峰值测量需要自由设定,小于该值的数据不被峰值保存。
⑤、自动峰值时间设定:用户根据自动峰值测量状态下峰值需要保持的时间从1秒~99秒自由设定。
⑥、自动关机时间设定:无操作状态下,自动关机时间从0分钟~9分钟可自由设定(当设置为0分钟则表示为解除自动关机)。
⑦、重力加速度设定:用户可根据本地区的位置设定重力加速度值,本机默认9.794。
⑧、恢复初始设置:用户操作不当或多次更改数据出现混乱,可以通过此项设置来把1~7的数据恢复到出厂状态。
5、测试前,第二选择测量模式
在用户主界面显示为实时测量模式,当第1次按“峰值”键进入峰值测量模式,第2次按“峰值”键进入自动峰值测量模式,再(也就是第3次)按“峰值”键时则返回实时测量模式,依次循环,如下图所示:
6、测试前,第二选择测量单位
在任一测量模式第1次按“单位”键由显示为N·m单位进入到Kg·cm单位显示,第2次按“单位”键进入Ib·in单位显示。
7、测试过程中可按“保存”键将测量数据保存。
注:在测试过程中当测量值超过上限值时,通讯指示灯会显示呈红色,蜂鸣器也会进行报警;当测量值低于下限值时,通讯指示灯会显示呈绿色,蜂鸣器仍会进行报警。当测量值超过最大负荷的120%时,可能会导致传感器的损坏。当测量值超过最大负荷的150%时,肯定会导致系统的损坏。当出现“严重超载”警告提示后自动关机,仪器即进入自动保护状态,须重新开机,显示屏显示“严重超载”警告提示,按“设置”键进入用户设置界面,通过“▼”键选择恢复初始设置项,再按“设置”键显示屏显示输入密码提示,其输入密码依次按“▲”、“▼”、“峰值”、“保存”、 “▲”、“▼”、“峰值”和“保存”键即可恢复(若无法恢复时请联系厂家)。
8、测试过后可按“查看”键查看已保存的数据,通过“▲”键和“▼”键显示上1条已保存数据或下1条已保存数据。
9、使用完扭矩测试仪后,按“ON/OFF”键关掉电源开关,并将测试仪放回仪器箱里。
七、USB输出
本仪器通过USB和上位机进行通讯。通讯协议采用MODBUS-RTU协议。仪器与软件的具体连接方法如下:
1、用直连线将本仪器与电脑,用USB公头与本仪器连接,RS-232母头与电脑连接好。
2、打开仪器电源,使仪器处于测量界面。
3、将随机附带的光盘放入电脑光驱,打开串口软件径:光驱\ software \AutoTest.exe。
4、点击软软件窗口下方的“系统”按钮,弹出“系统设置”对话框,在通信口中选择与电脑相应串口,具体操作步骤如下所示:
①、右击“我的电脑”选择“属性”,在弹出“系统属性”对话框中选择“硬件”选项栏,再点击“设备管理器”按钮(如下图所示):

②、在弹出“设备管理器”的对话框中查看端口项类的子项串口号(如下图所示):

③、返回软件弹出的“系统设置”对话框,在通信口中选择对应串口号(比喻为“5”),再按确定,如下图所示:

④、关闭软件,重新双击AutoTest.exe后,方可检查是否已将串口连上,其检查方法有多种:在仪器的传感器上施加点力,查看软件窗口上方的扭力值是否对应跳动,若跳动则表示已经连接上,否则反之。
⑤、点击软件窗口下方的“设置”按钮,弹出“参数设置”对话框,根据测试需要填写相应的数据。具体参数大小如6-3-b步说明填写。填写完毕后,按“确定”按钮即可。设置成功后,在软件窗口下方显示数据会随之改变。

⑥、先确定串口已连接上,按“开始”按钮进行同步测试。
⑦、测试完成按“停止”按钮点击“保存”或“停止”即可。保存则将测试曲线保存入软件内,停止则反之。
⑧、软件界面介绍:
a、上方有扭力值显示区、时间显示区和测试次数号。
b、左则有上限线、下限线、指示线、规格显示、显示曲线、清除曲线和导出曲线。
上限线:在上限线前方的方块勾上时,曲线显示窗有上限扭力值的水平线显示。
下限线:在下限线前方的方块勾上时,曲线显示窗有下限扭力值的水平线显示。
指示线:即鼠标在曲线显示窗内呈十字形,而十字鼠标位置每移一处对应的扭力值显示区与时间显示区都会随之而变。
规格显示:顾名思义就是显示仪器的规格(型号与量程)。
显示曲线:点此按钮跳出“选择曲线”对话框,选择所需显示的测试项目,再选所需显示的测试次数。
清除曲线:只是擦除当前显示的曲线,而并非将此曲线从软件内删除掉。
c、下方有设置、开始、停止、报表、系统、帮助、删除和退出按钮。
设置、开始、停止和系统按钮在前方已有介绍过。
报表:点此按钮跳出“曲线数据选择预览”对话框,先选择采样点频率的大小后再选择所需显示的测试项目和所需显示的测试次数,最后点“Execl”按钮即可。
%1、 注意事项、保养及维修
1、请勿超负荷测试扭矩,一定要在扭矩测试仪的测试范围内测试扭矩,否则会损坏仪器,更有可能会造成危险。
2、请勿敲击液晶显示屏将物体放在液晶显示屏上。
3、请勿用指甲、利器或尖的物体按功能键。
4、请勿在水、油或其他液体溅到的地方使用扭矩测试仪,要将扭矩测试仪存放于阴凉、干燥和没有振动之处。
5、请勿打开背后的小盖子、更不能调校里面的微调电阻。
6、请勿松动扭矩测试头的固定螺丝。
7、请使用配套的电源适配器充电,否则会引起电路故障,甚至引起火灾。
8、将AC电源适配器完全插入插座后再使用,插头松动可能会引起短路而导致电击或火灾。
9、不要使用电源适配器额定电压以外的其它电源,否则可能会引起电击或火灾。
10、请不要湿手拔出或插入插头,否则可导致触电。
11、请用柔软的布来清洁本机,将干布浸入泡有清洁剂的水中,拧干后再清除灰尘和污垢。不要使用易散发的化学物质,例如挥发油、稀释剂、酒精等。
12、使用和搬运过程中要轻拿轻放。
13、不要自行拆卸、修理或改造本机。些行为可能会引起仪器永久性故障。
14、发生故障请与原购买处或本公司联系。
15、本产品自销售之日起一个月内,在正常使用及外观无破损情况下出现产品质量问题,客户凭销售发票原件、有效保修卡及完整包装到原购买处或本公司更换相同的规格型号的产品,更换以后的产品延续原产品的保修期限和条款。
16、本产品自销售之日一年内,在正常使用情况下,出现非人为故障属保修范围(用户自行拆机或在其他维修点维修本公司不与保修),客户凭销售发票原件和有效保修卡联系原购买处,可获本公司免费保修一年。
17、本产品的保修条款仅适用于在中国市场上销售的高速冲击扭矩测试仪产品,对超过包换期及保修期限的产品,客户可向原购买处查询维修事宜或与本公司联系,由本公司提供有偿维修。